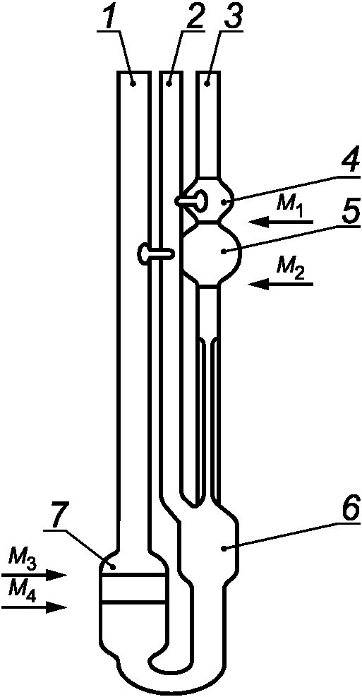
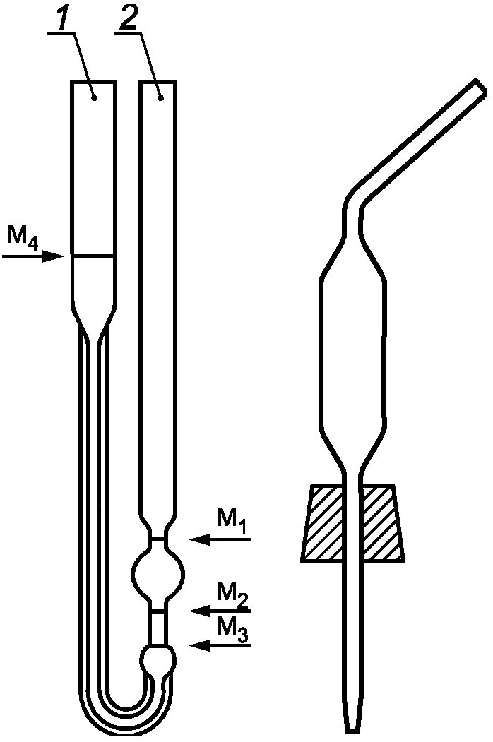
Определение кинематической вязкости вискозиметром