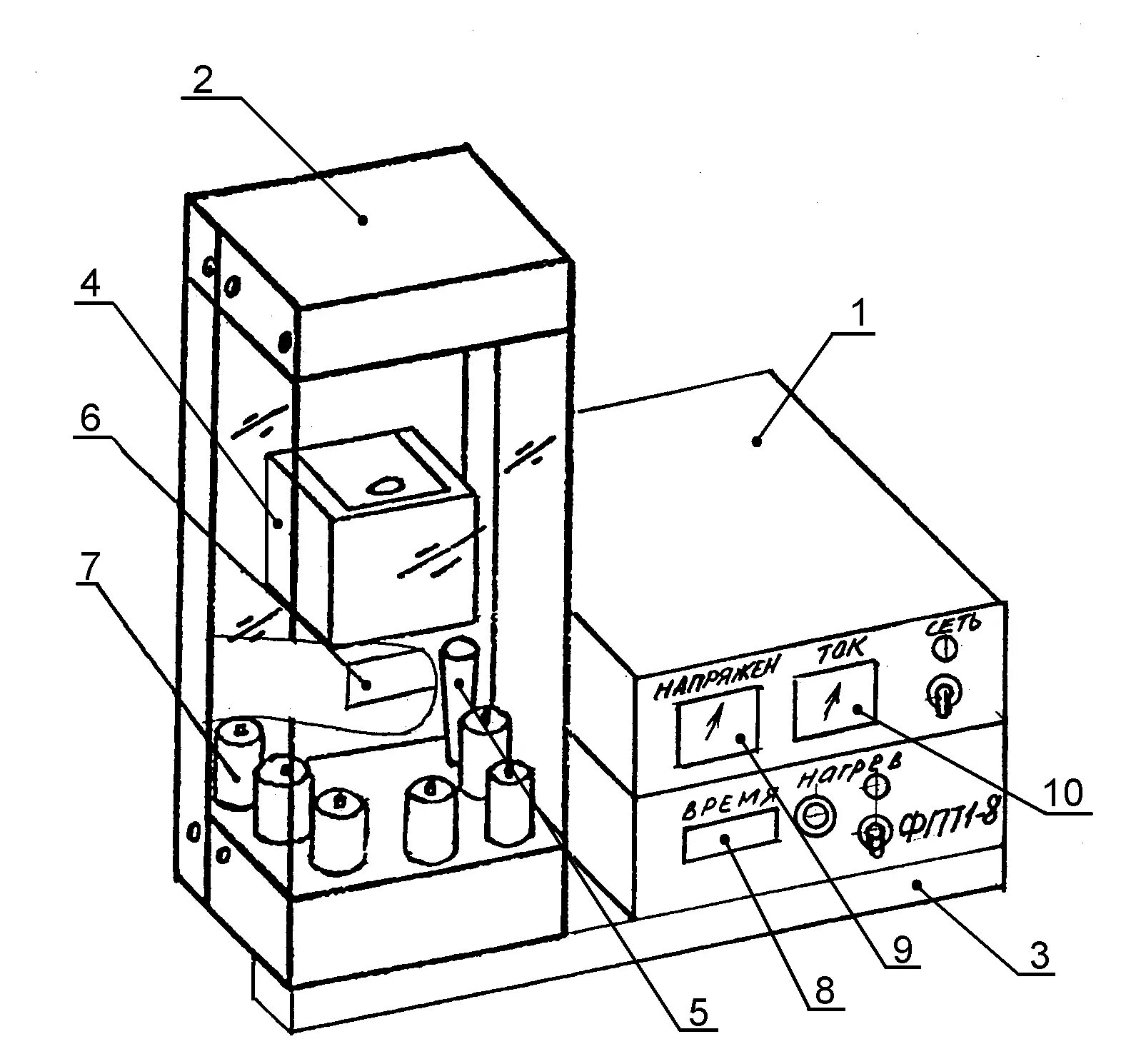
Определение экспериментальная установка