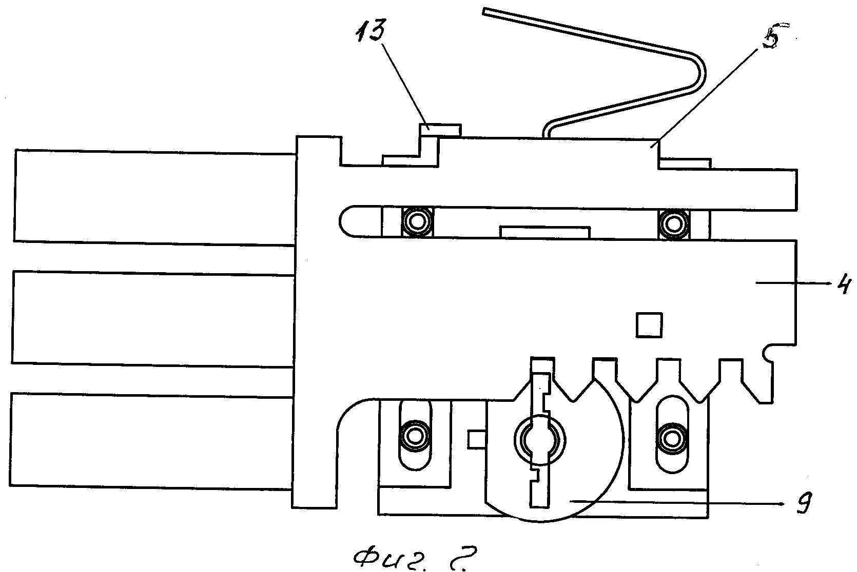
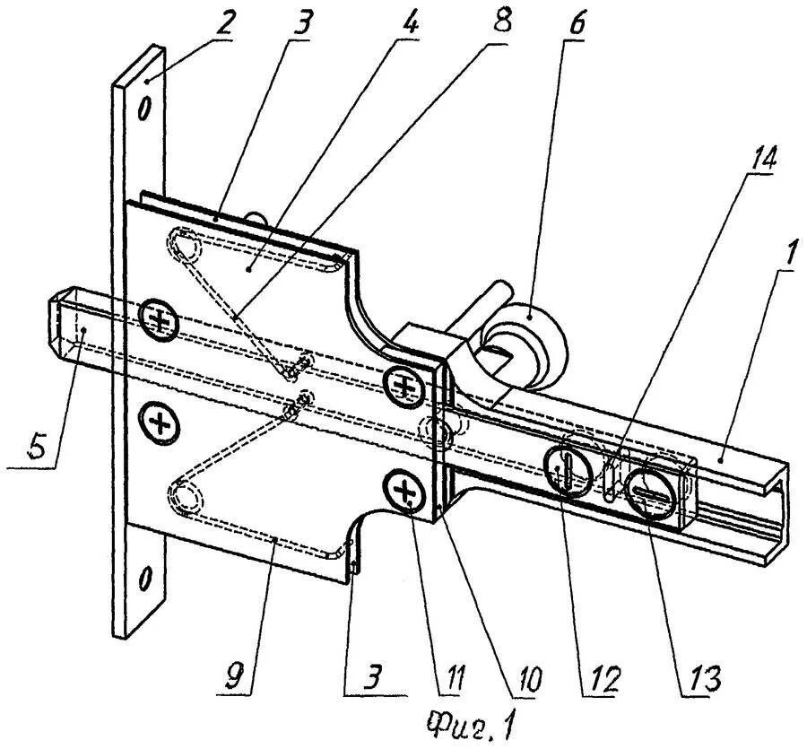
Обслуживание запирающего устройства