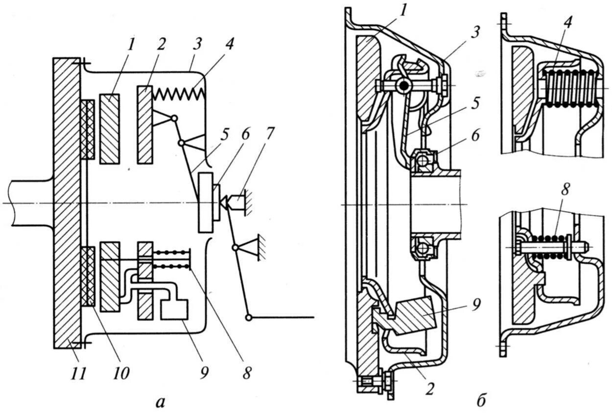
Общее устройство муфты сцепления