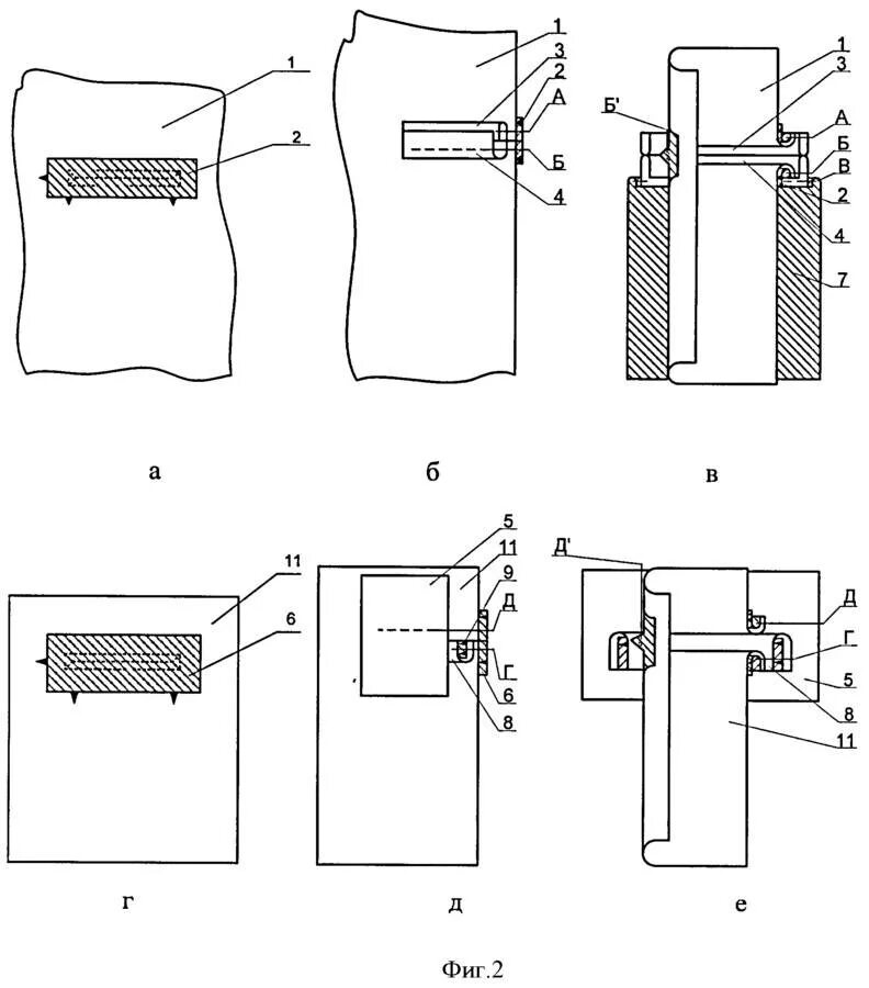
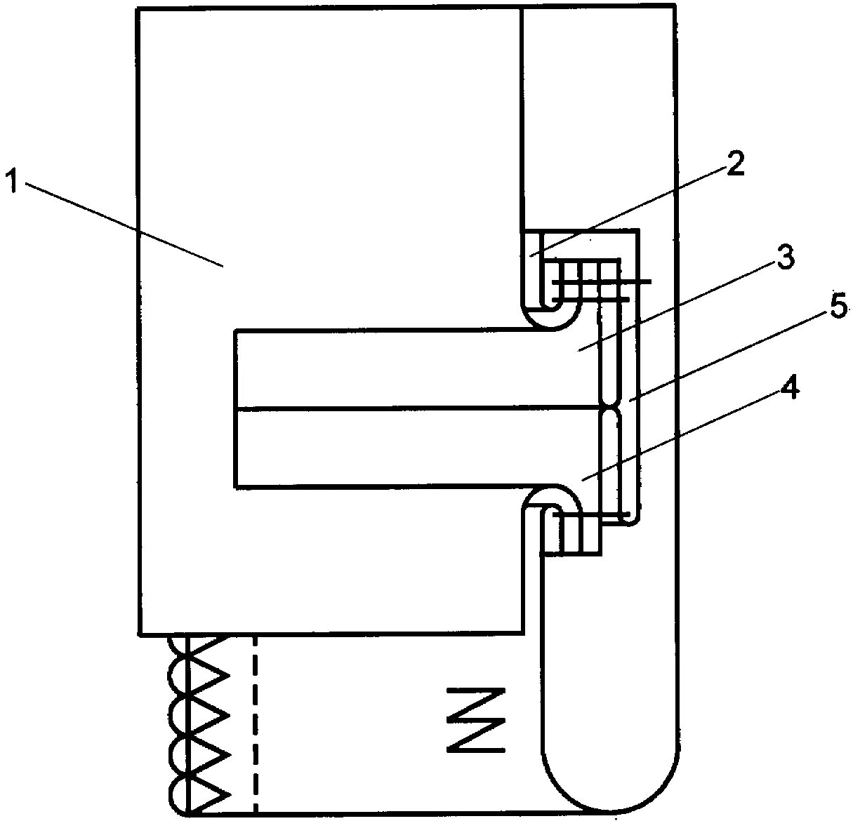
Обработка прорезного кармана