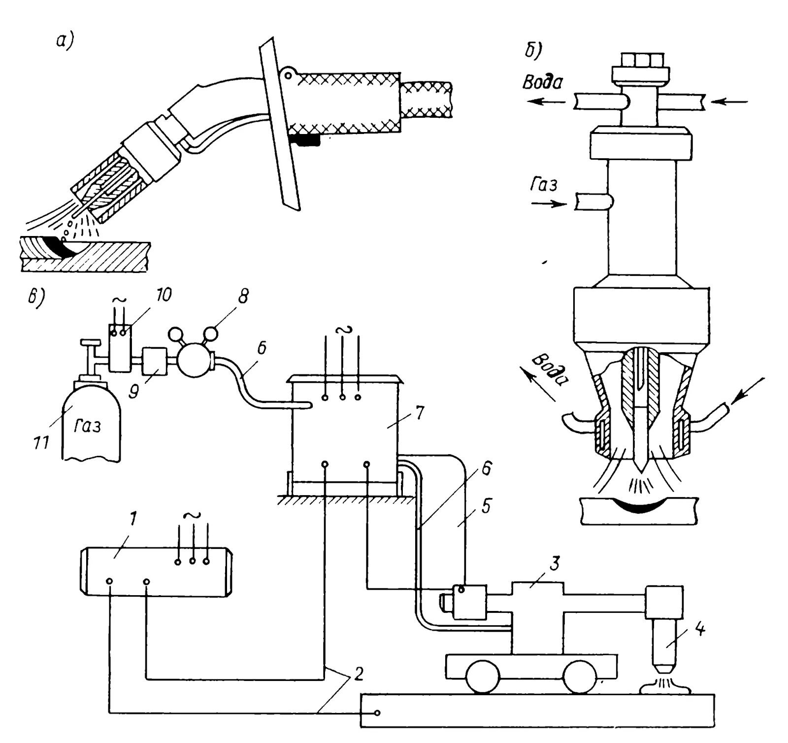
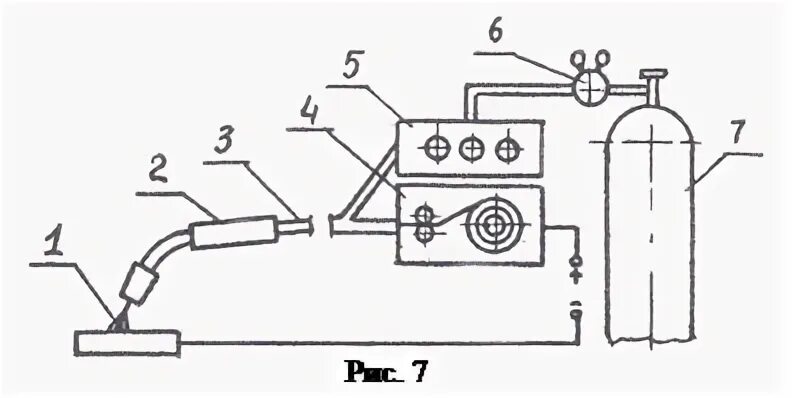
Оборудование для частично механизированной сварки