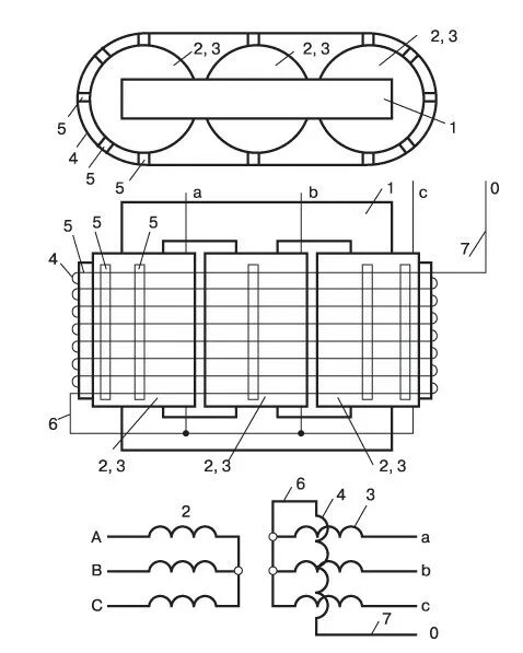
Обмотка высшего напряжения силового трансформатора