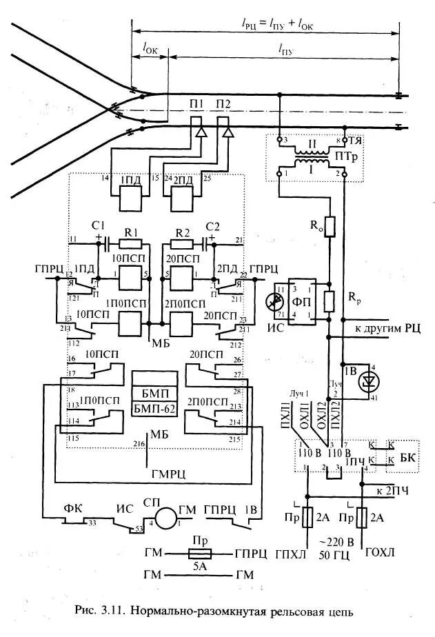
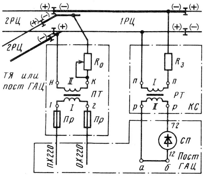
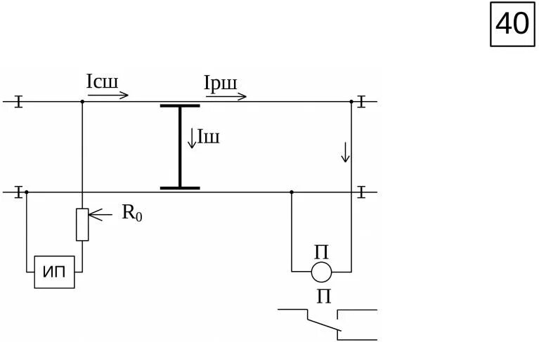
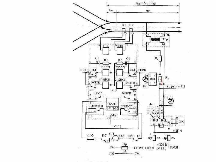
Нормально разомкнутые рельсовые цепи