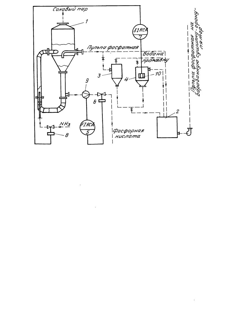
Нейтрализация фосфорной кислоты