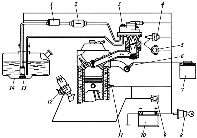
Неисправности системы питания инжекторного двигателя