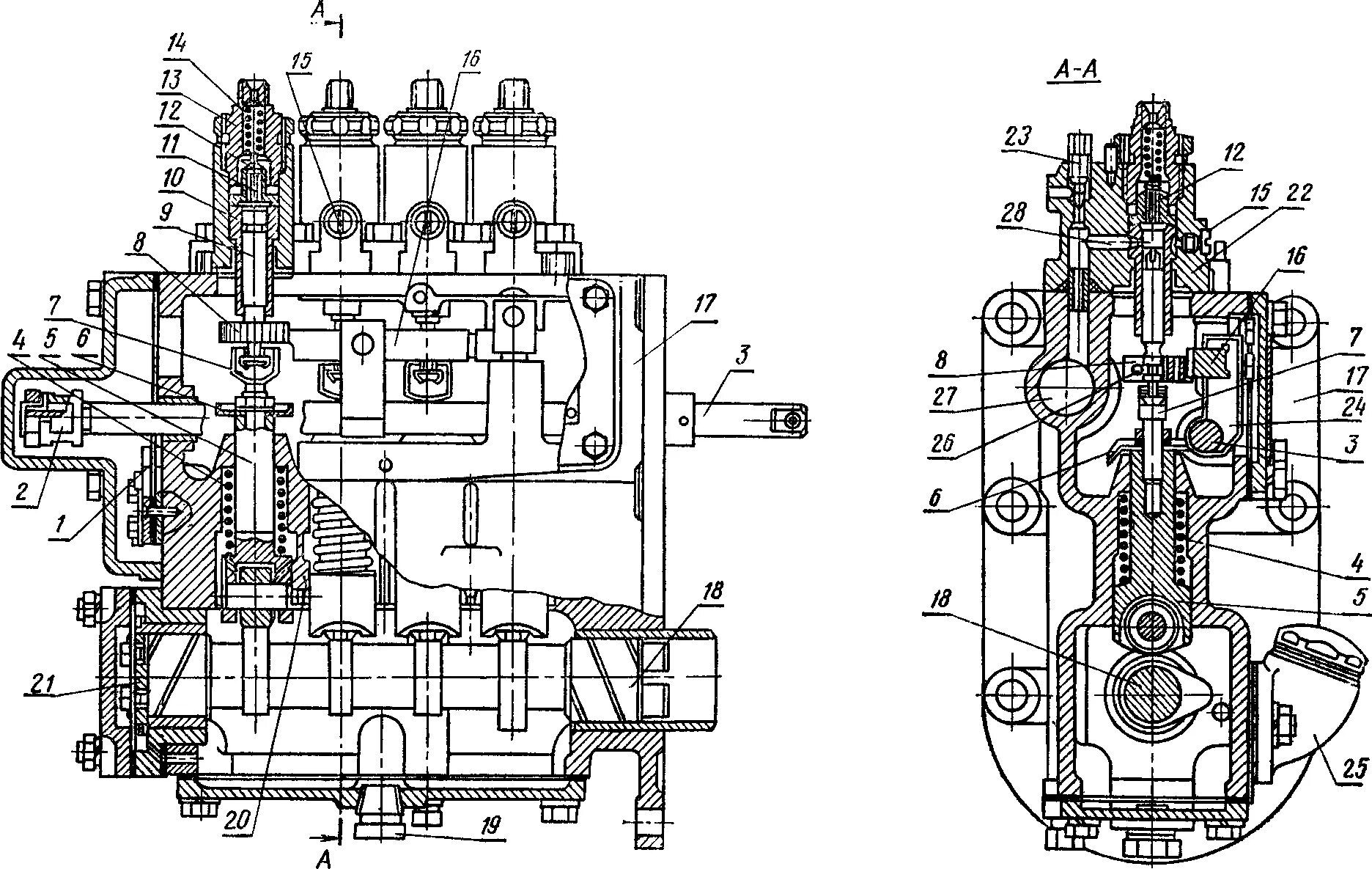
Назначение устройство тнвд