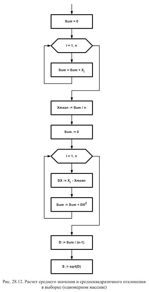
Найти среднее арифметическое элементов матрицы