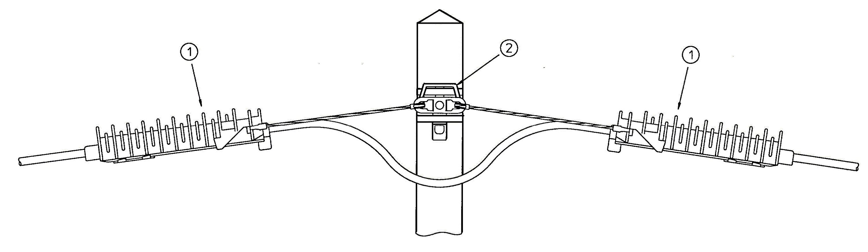
Натяжное крепление кабеля