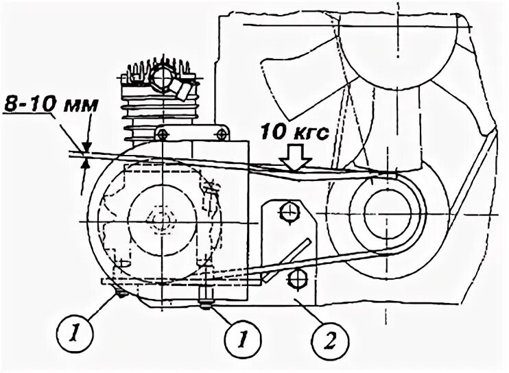
Натяжение ремня компрессора