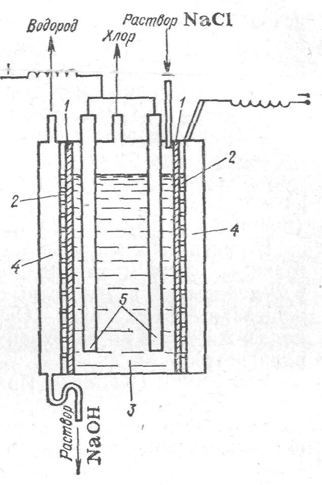
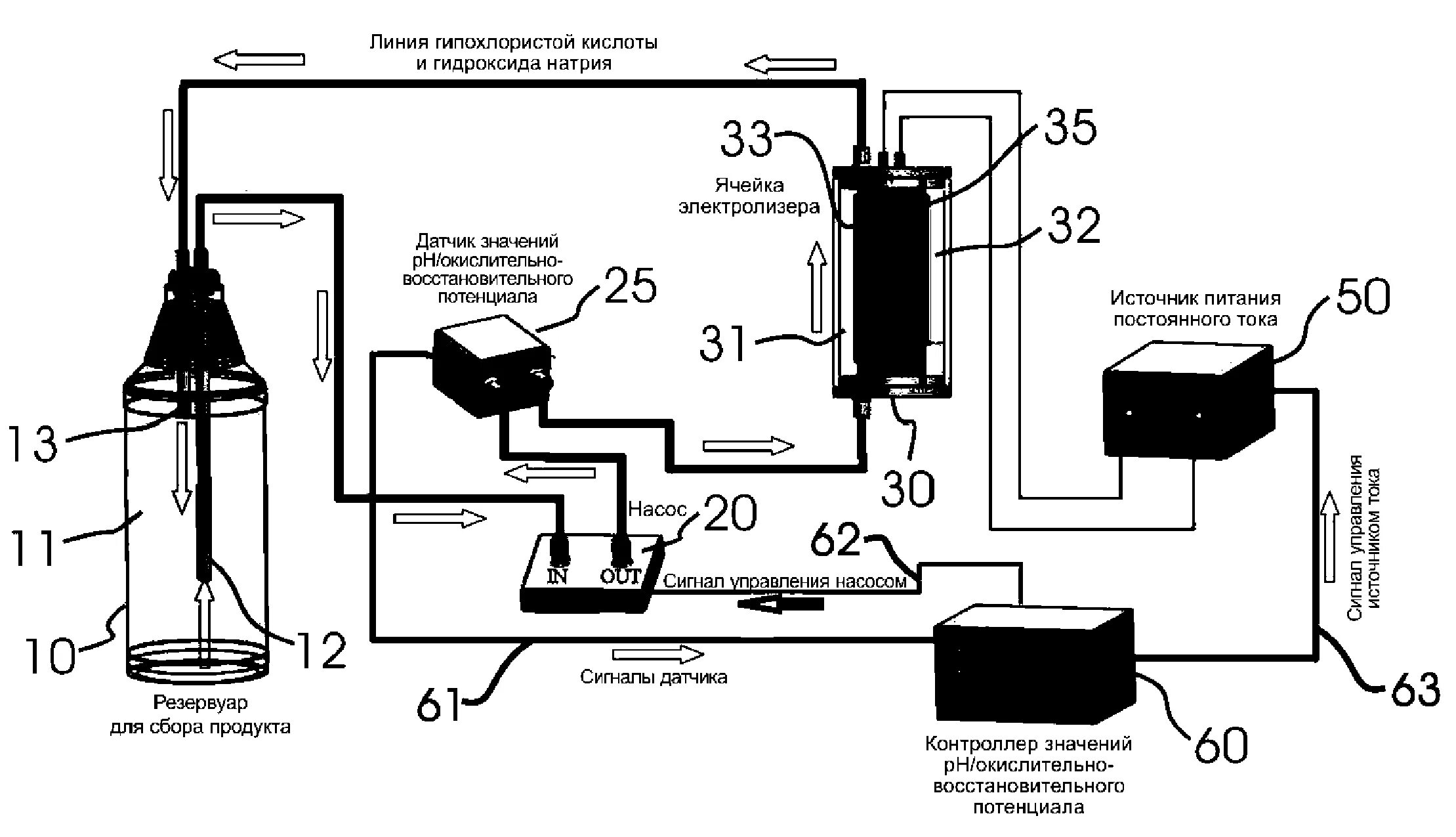
Натрий получение установка