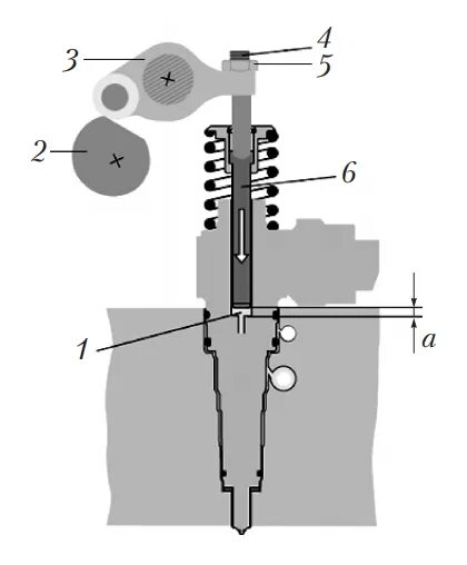
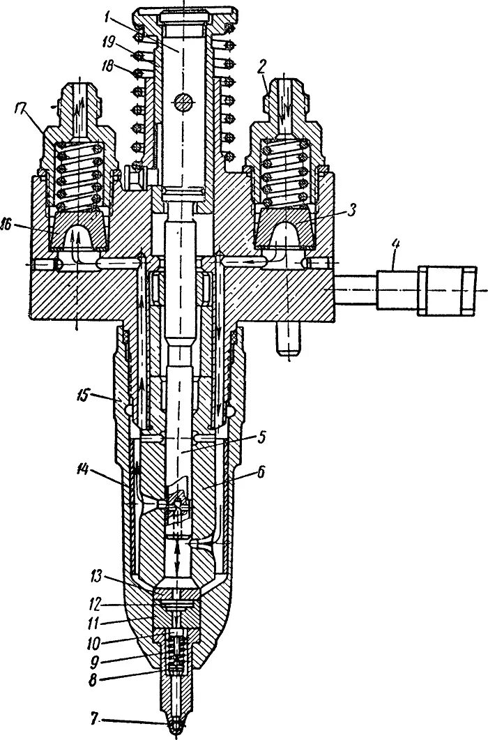
Насос форсунка работа