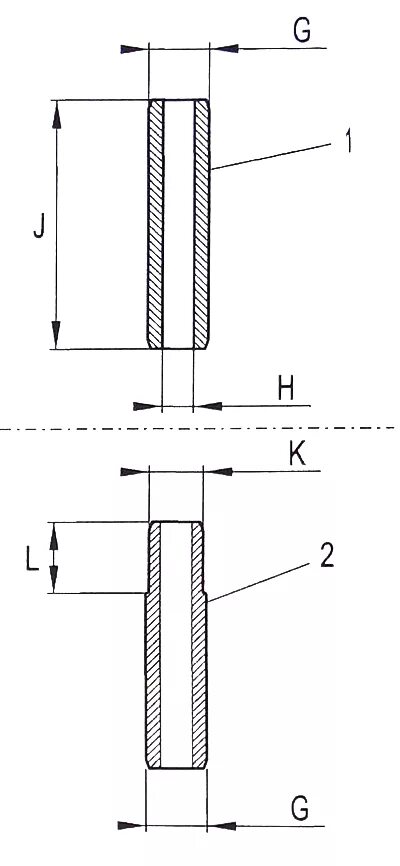
Направляющие втулки клапанов размеры