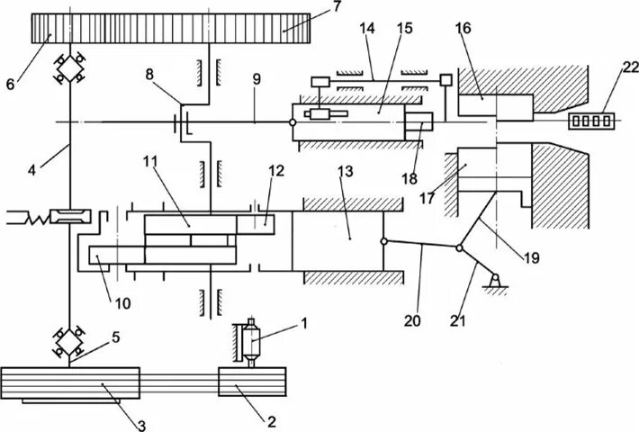
Направляющая метод получения