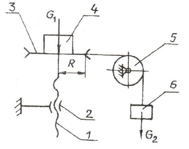
Наибольший кпд винтового механизма позволяет получить