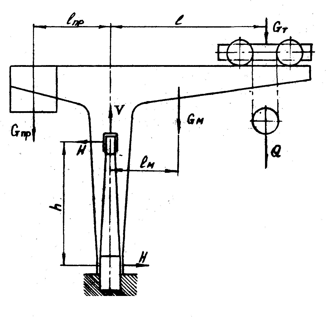
На рисунке изображен кран