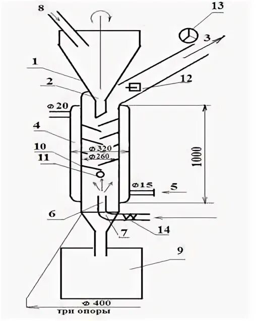
На экспериментальной установке изображенной