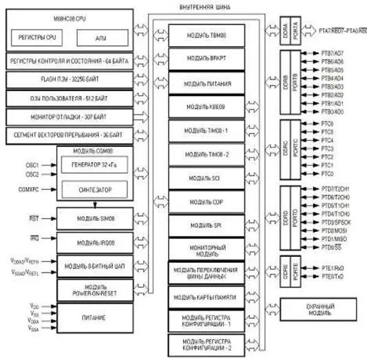
Модуль управления структурой