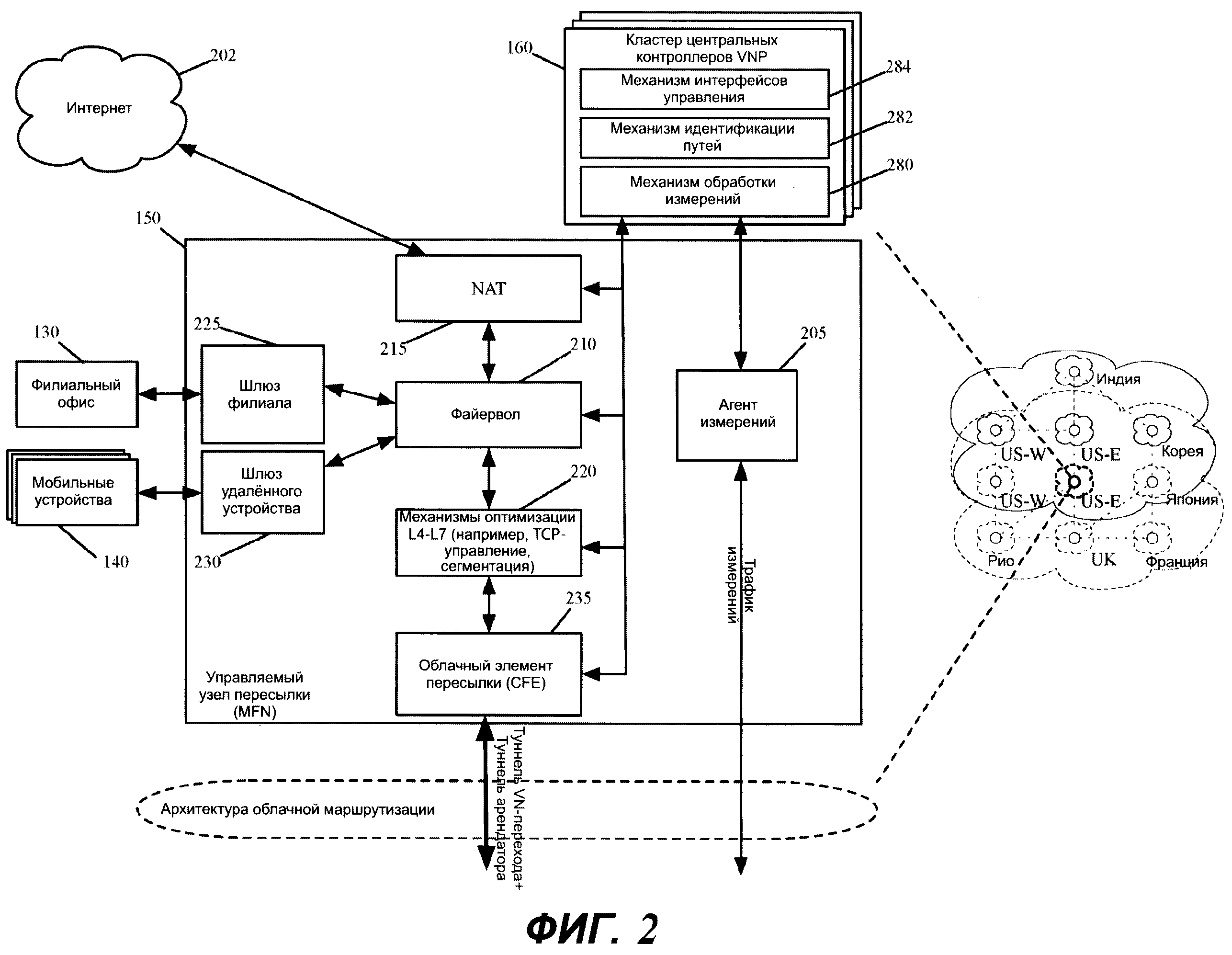
Модели виртуальных сетей