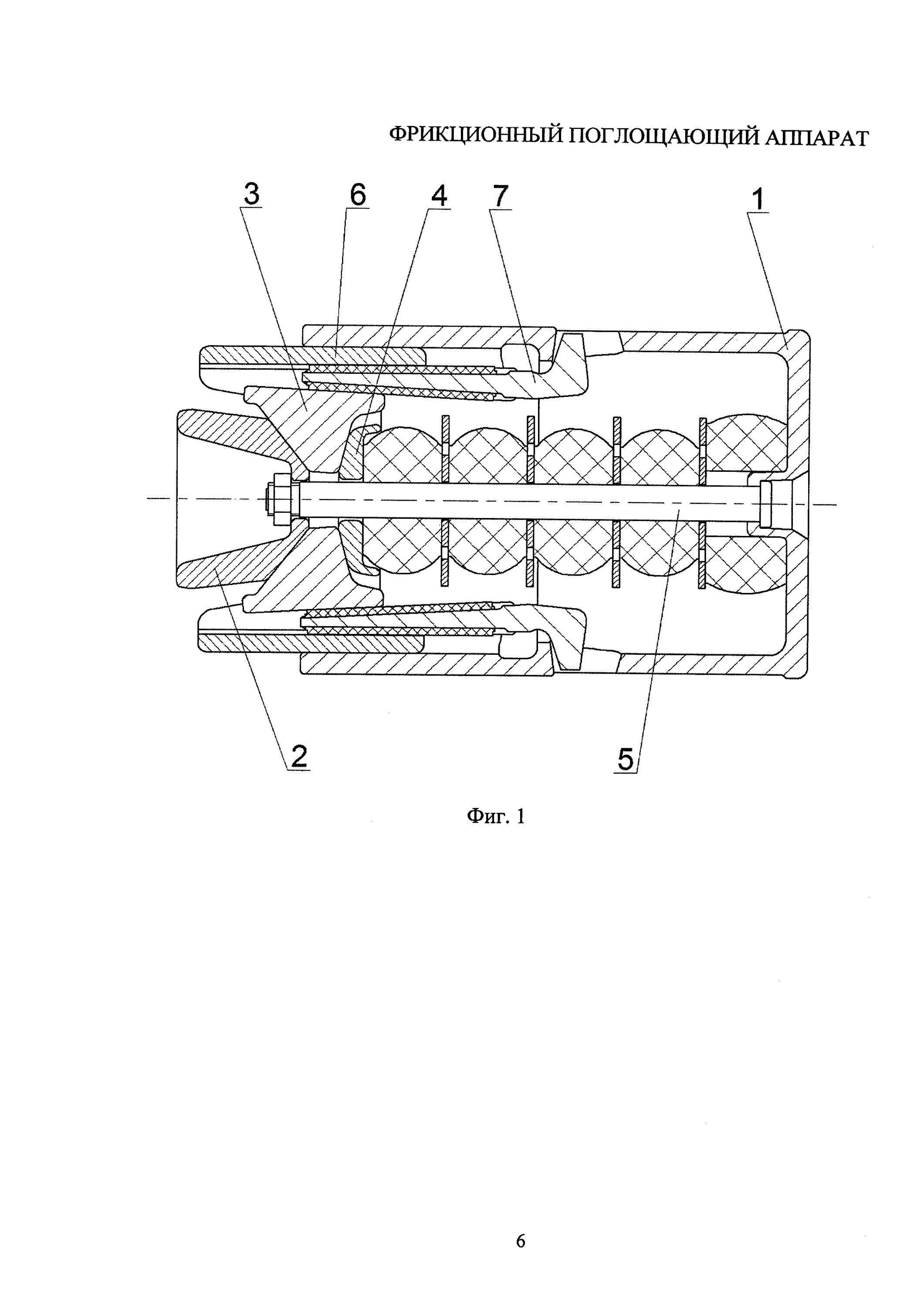
Модели поглощающего аппарата