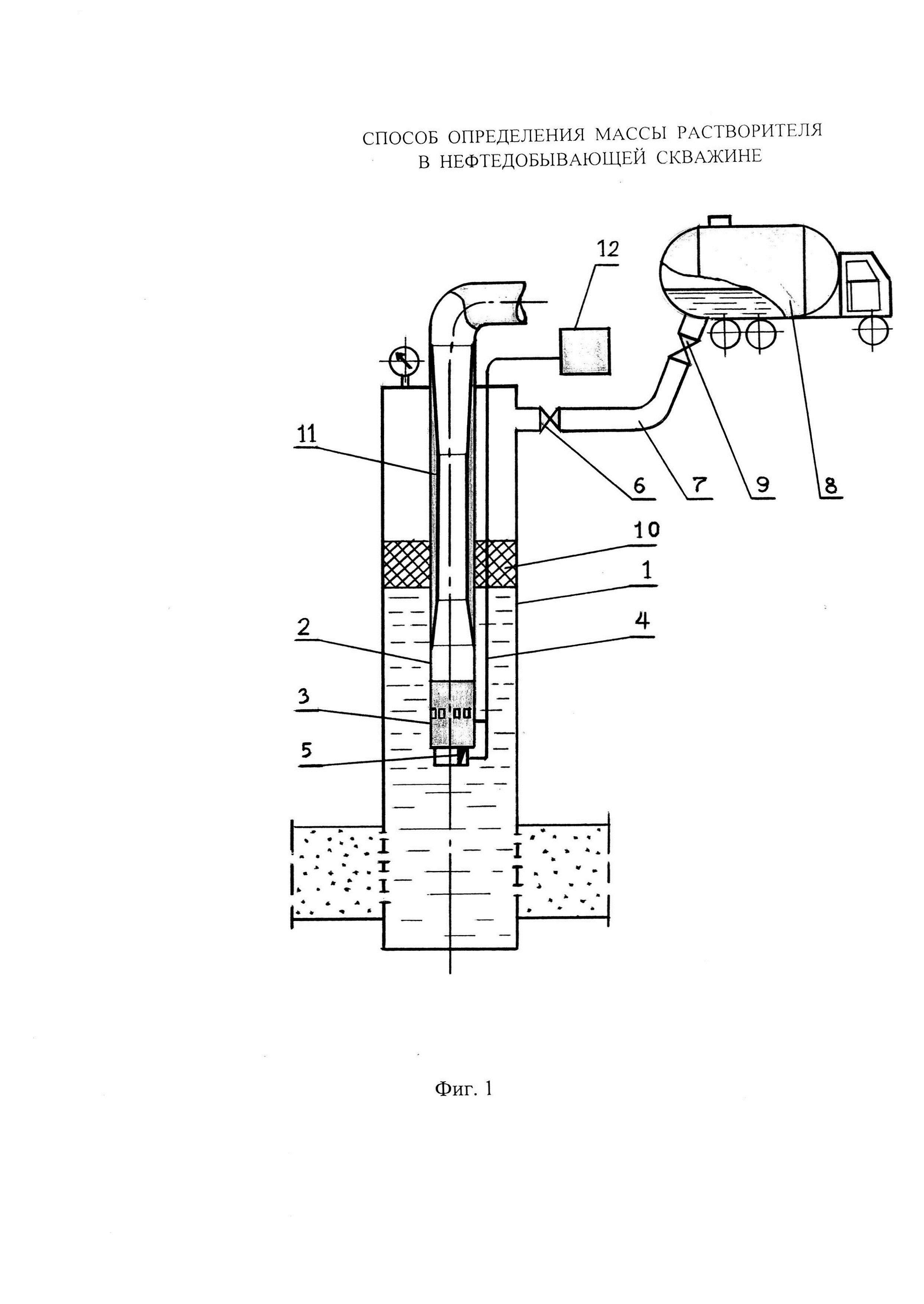
Мищенко скважинная добыча нефти