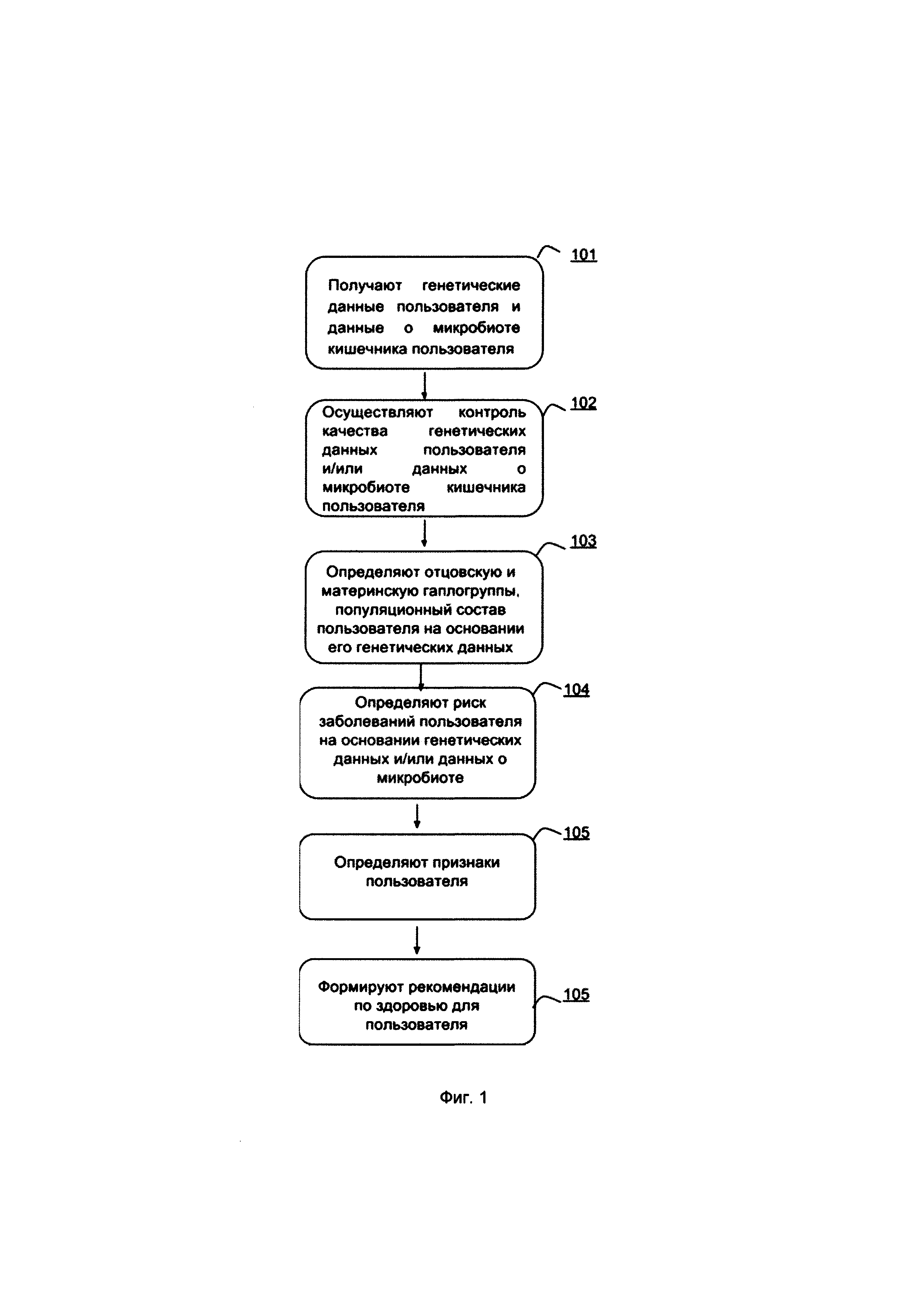
Методы интерпретации данных исследования