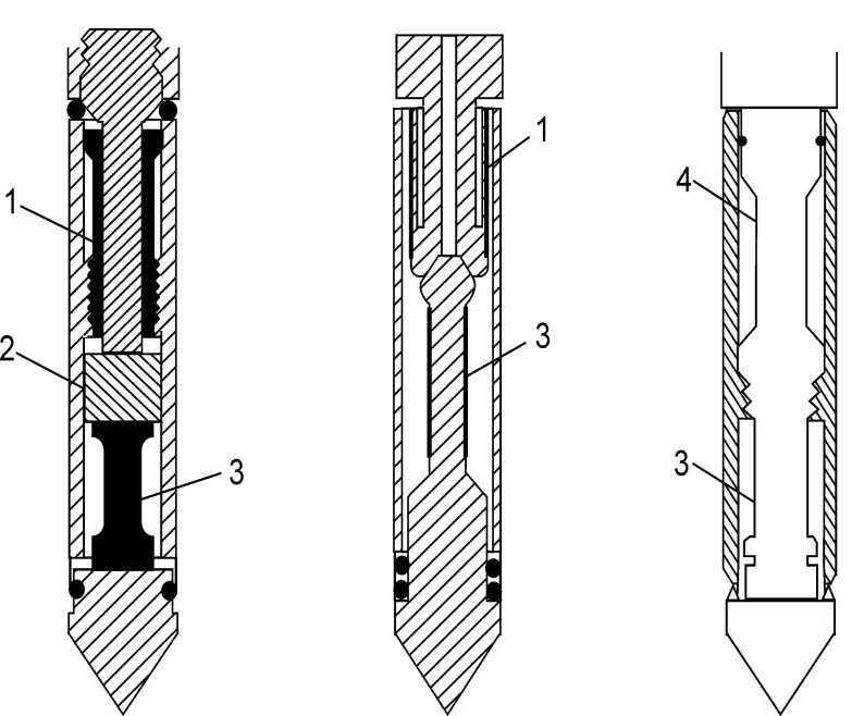
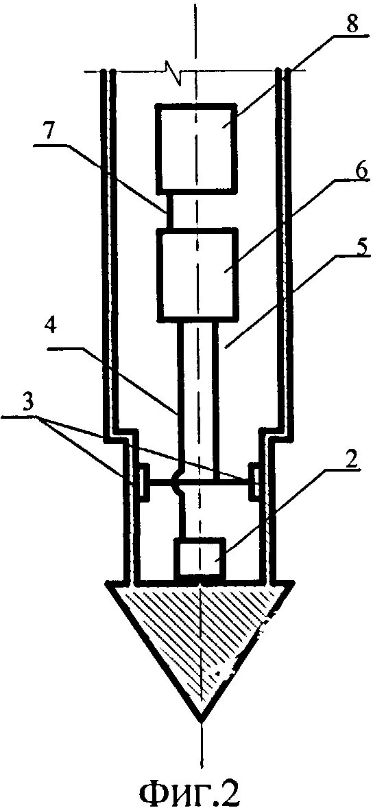
Метод статического и динамического зондирования