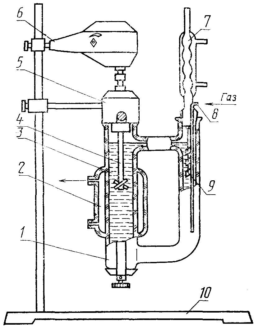
Метод определения коррозии