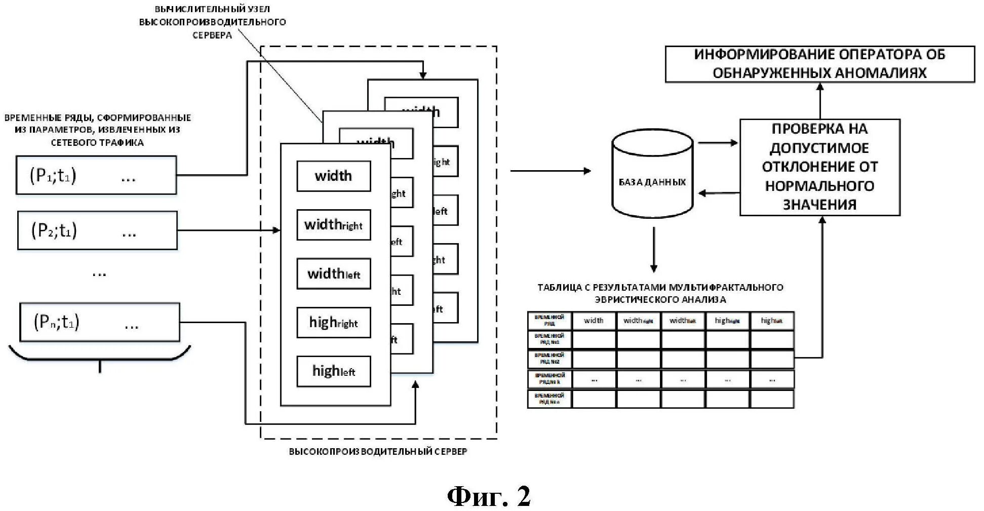
Метод обнаружения аномалий