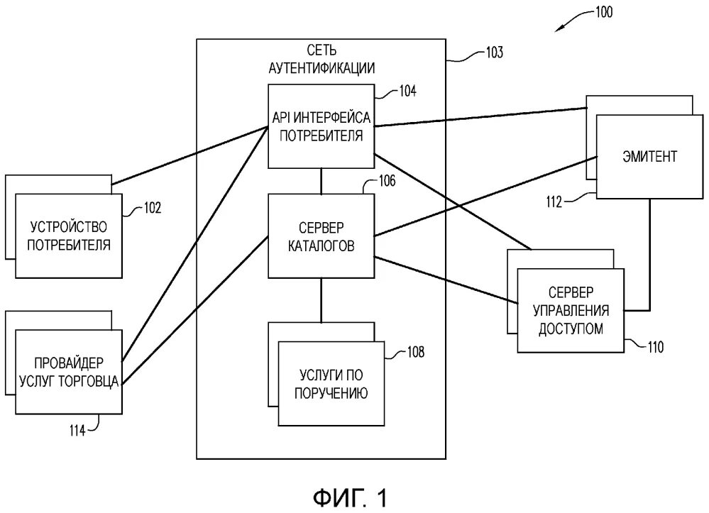
Механизмы аутентификации пользователей