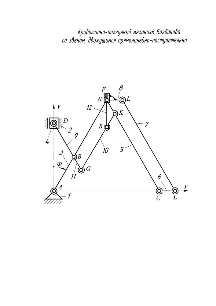
Механизм прямолинейного движения