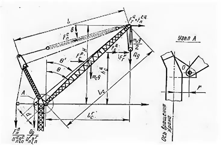
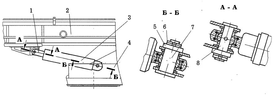
Механизм изменения вылета стрелы крана