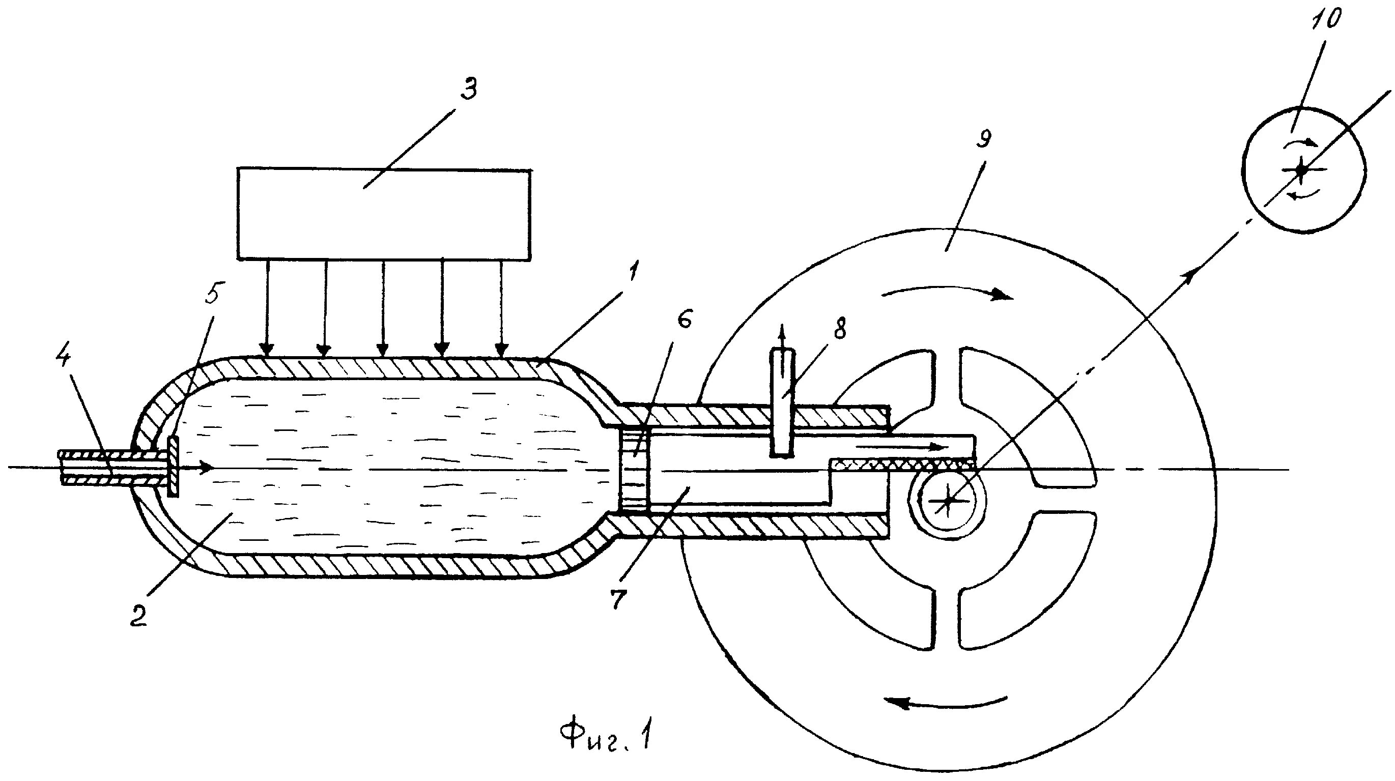
Механическое преобразующее устройство