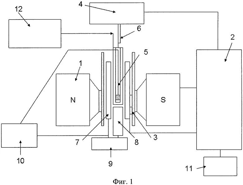
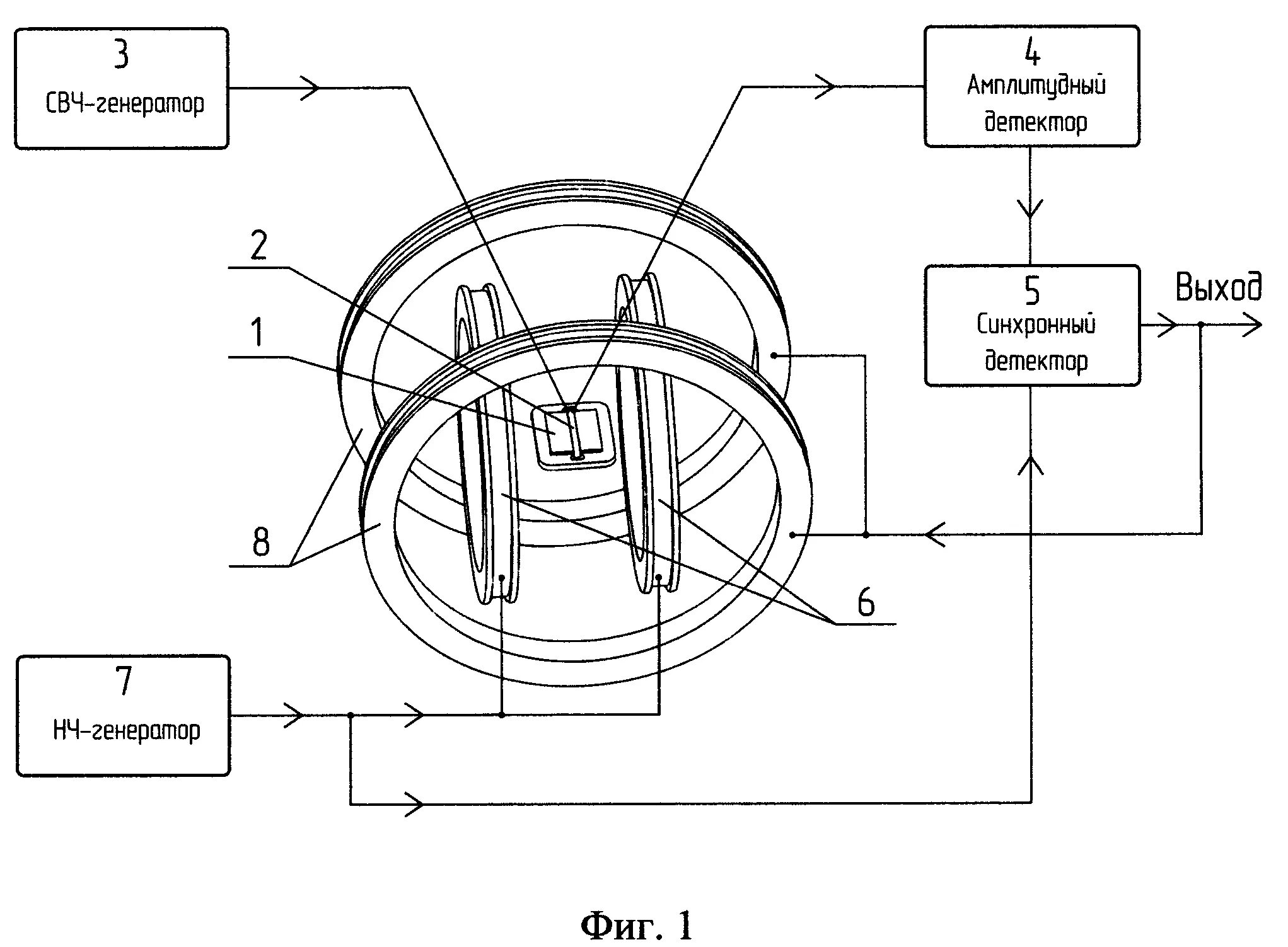
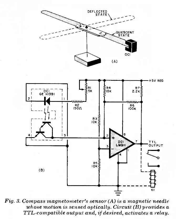
Магнитометр принцип работы