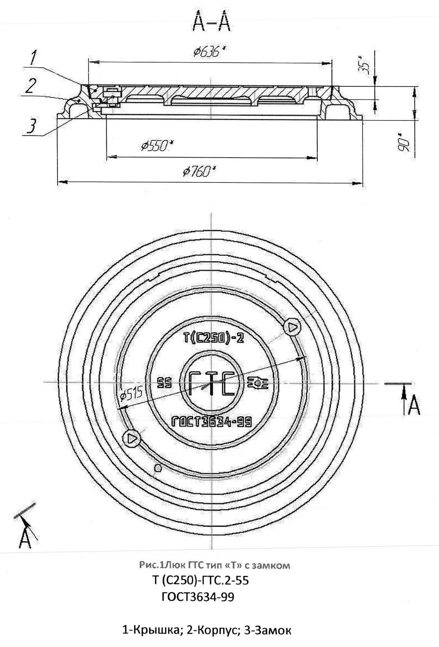
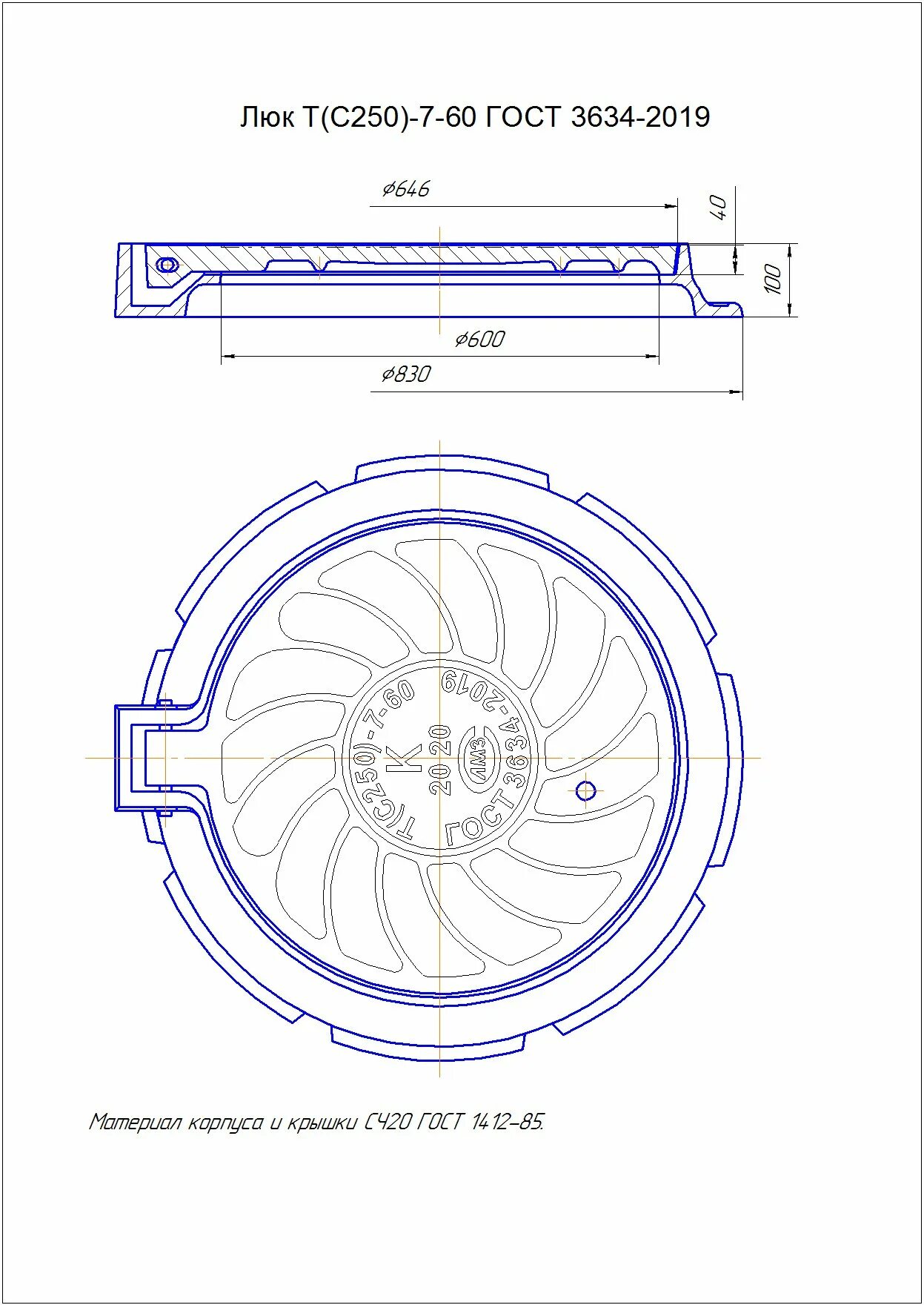
Люк тип т размеры