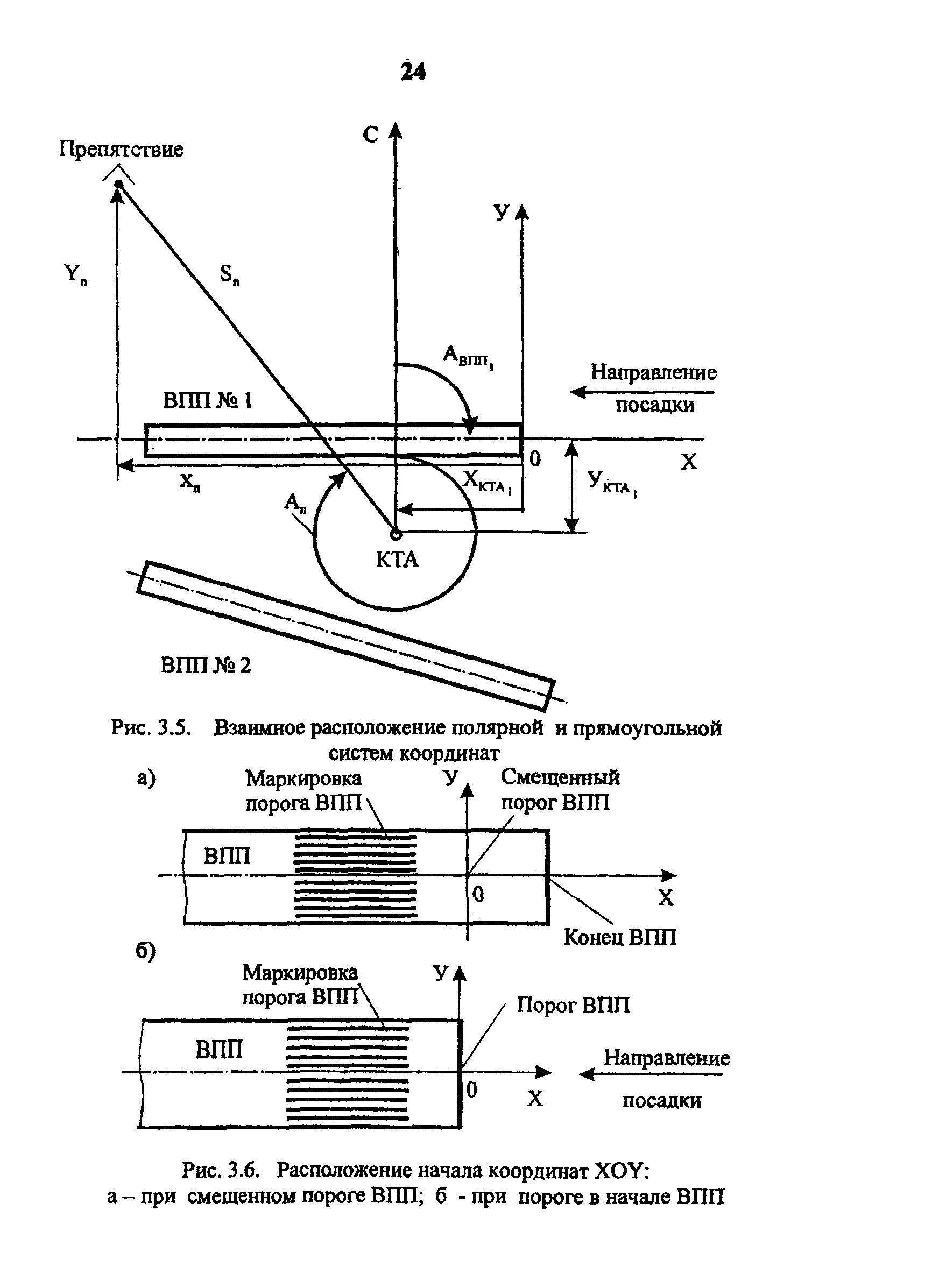
Лекции впп