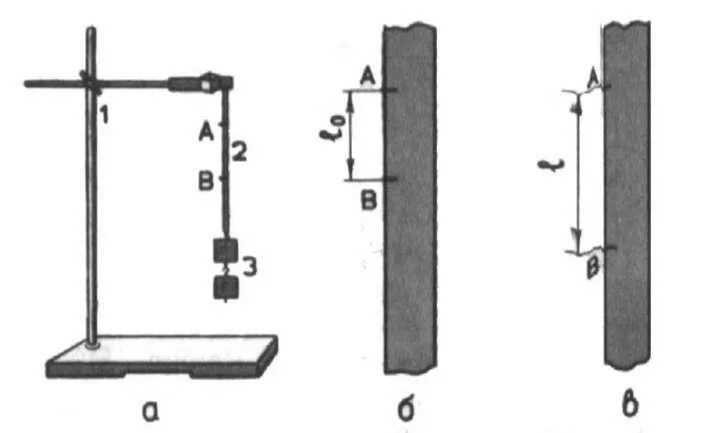
Лабораторная работа определение модуля упругости резины