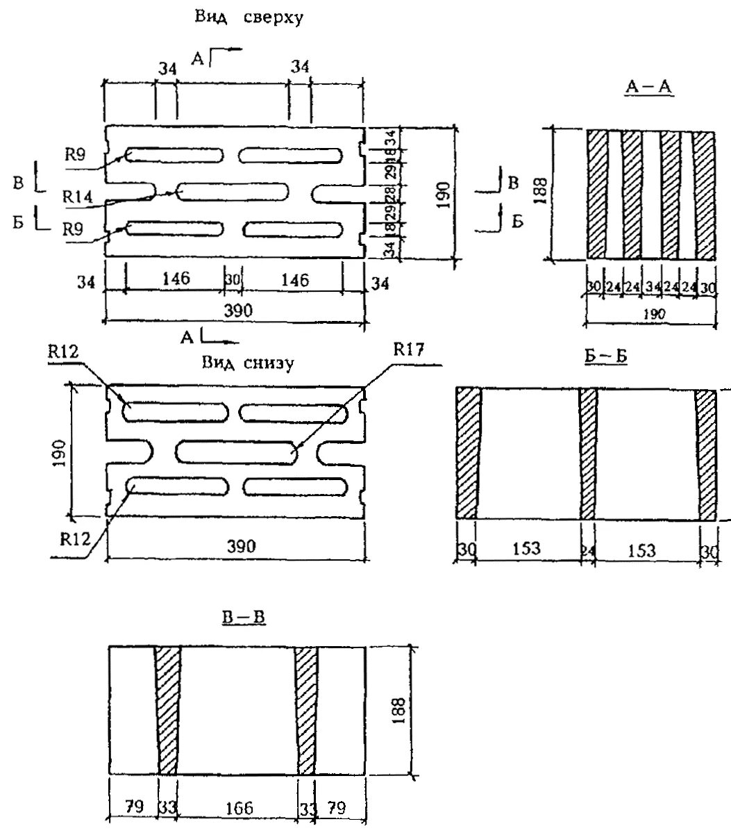
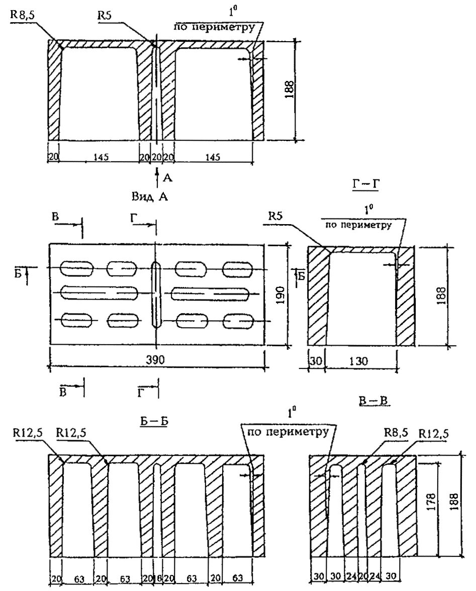
Кср классификатор строительных