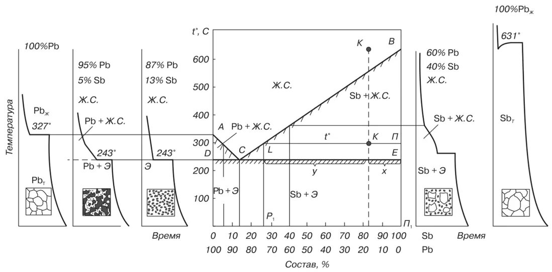
Кривые охлаждения и структуры