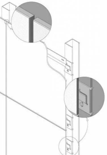
Крепление панели горизонтальное