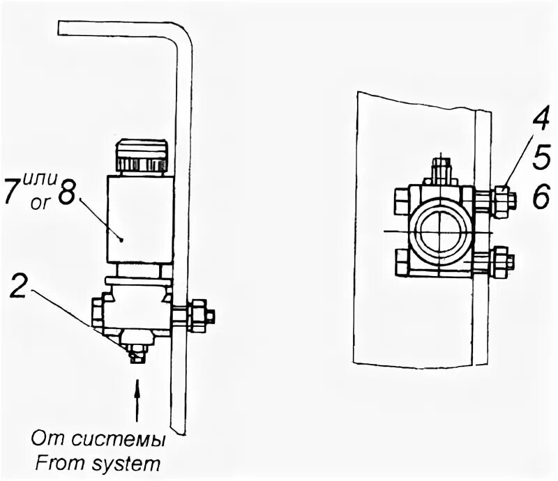
Крепление электромагнитного клапана