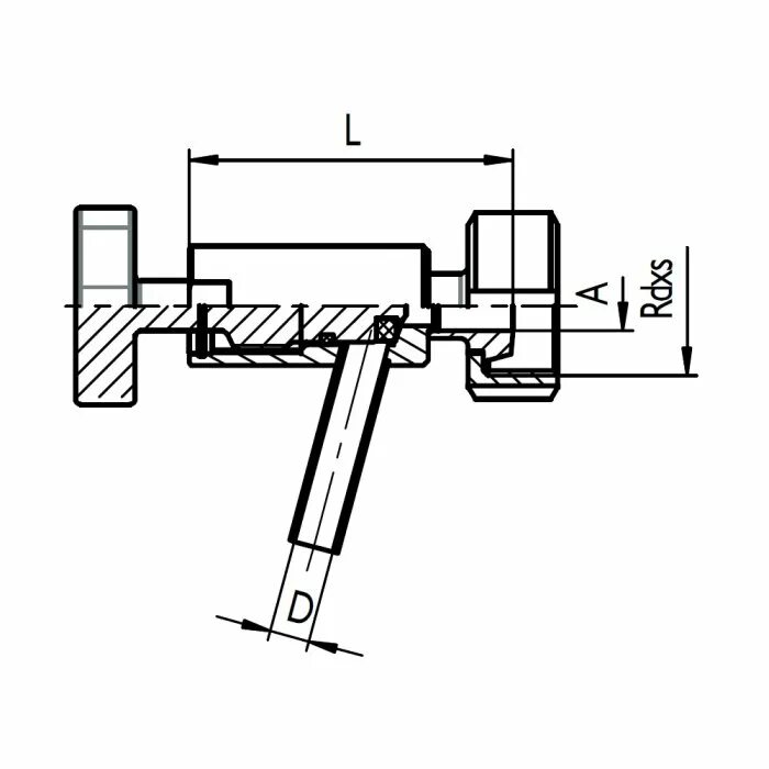
Кран для отбора проб