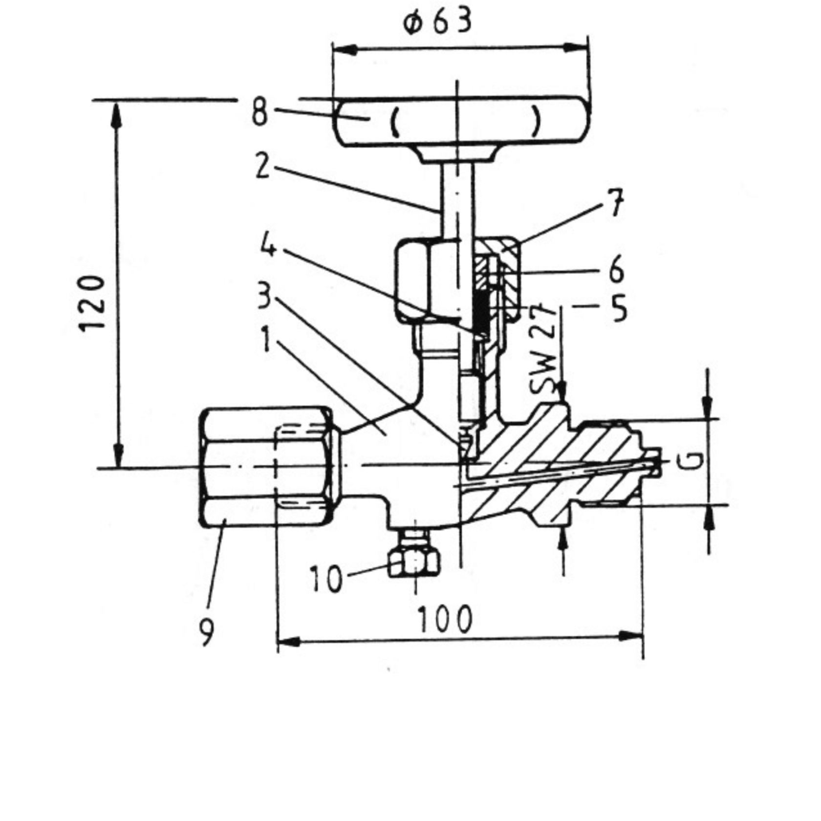
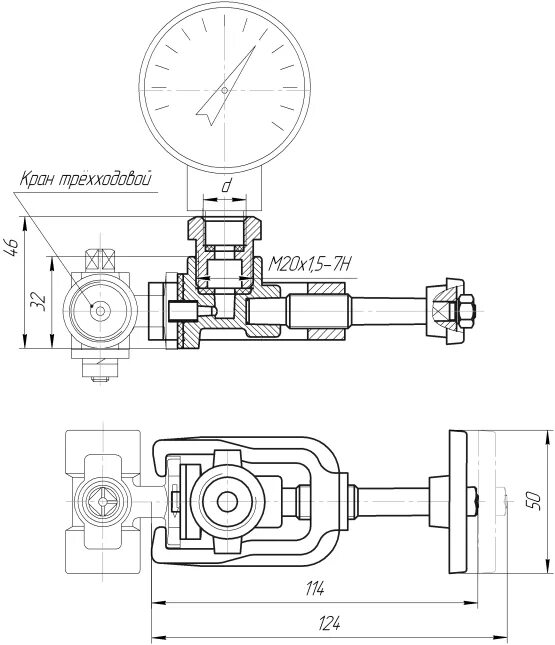
Кран для контрольного манометра