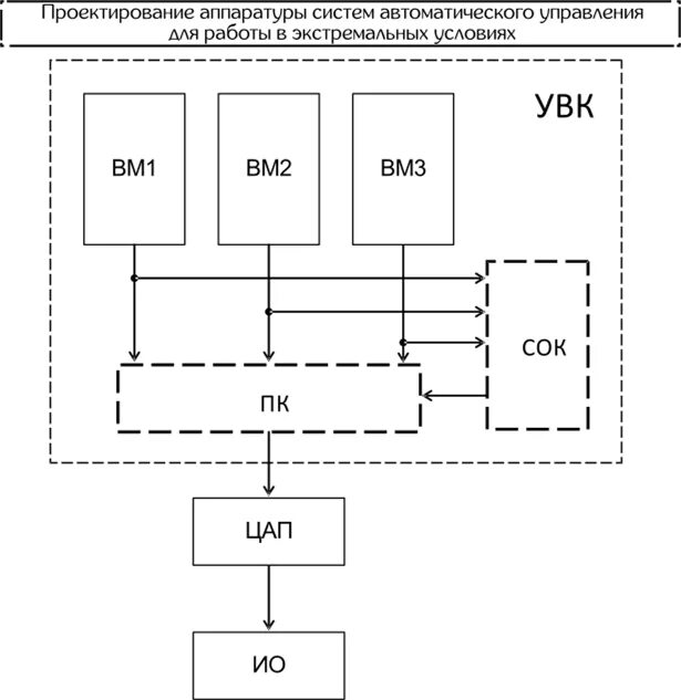
Контрольные системы автоматического управления