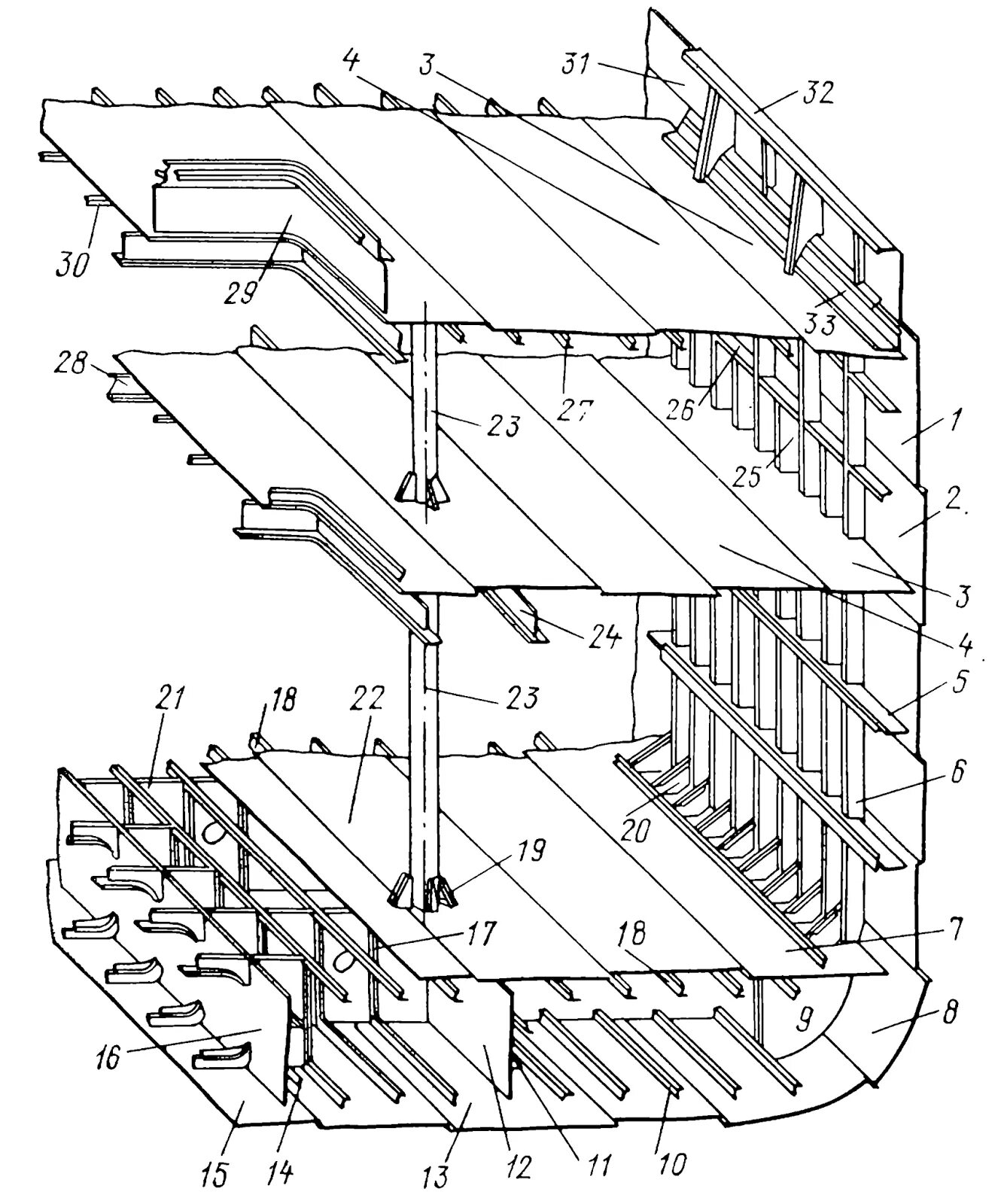
Конструктивные элементы корпуса