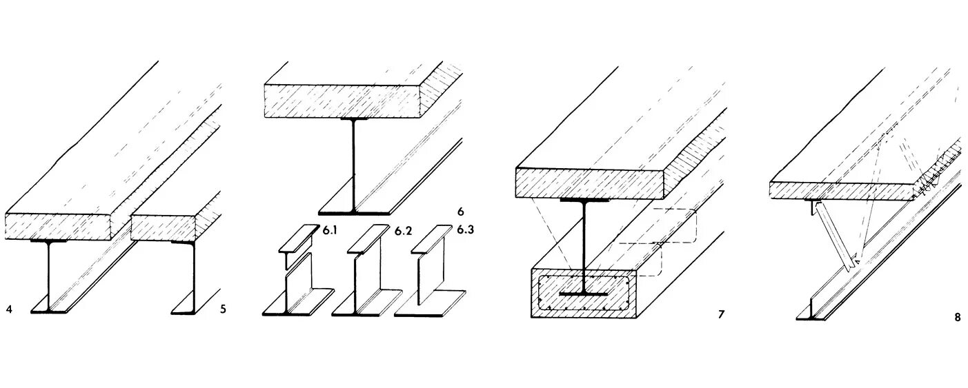
Конструктивные элементы балки