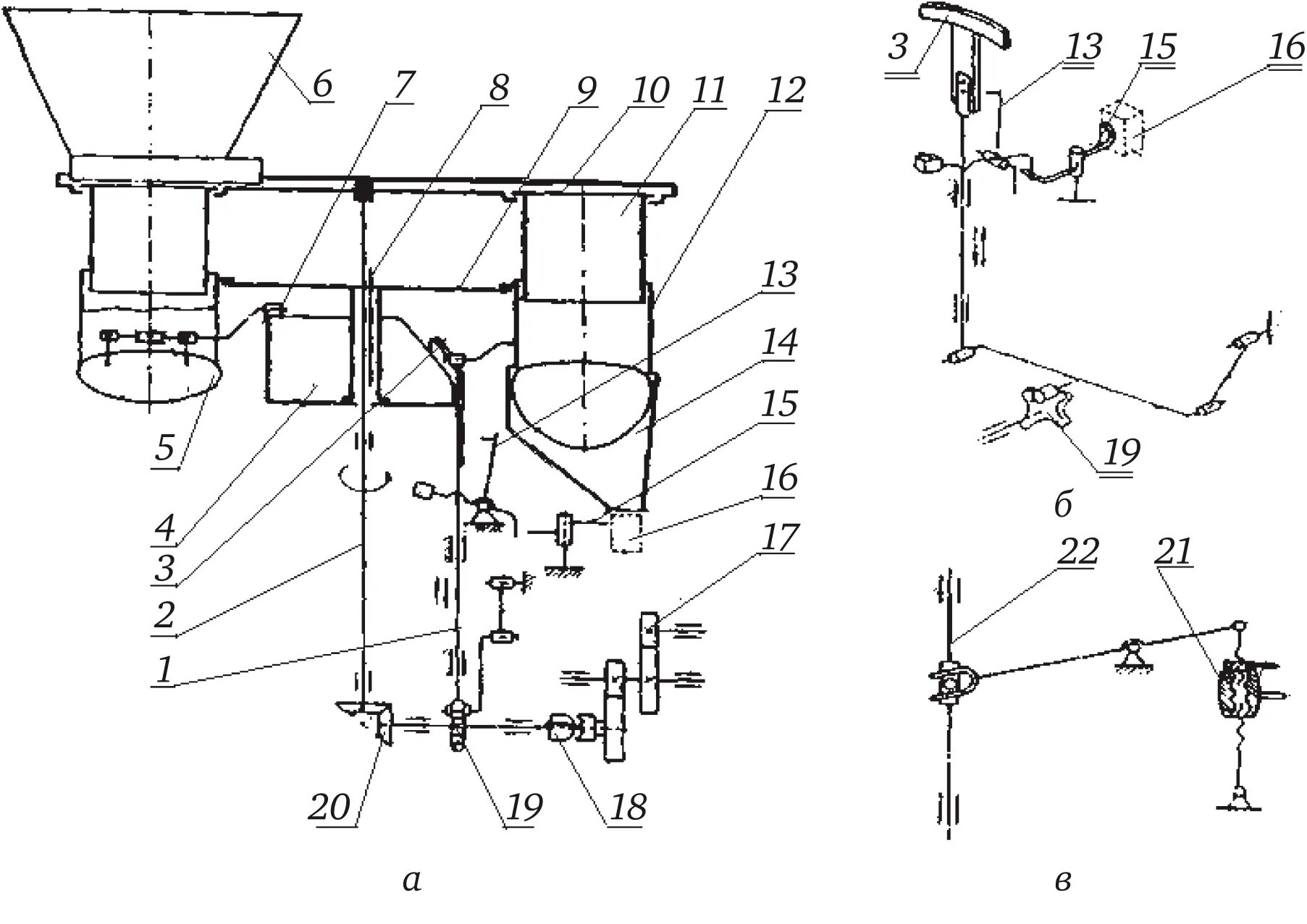
Конструктивное устройство