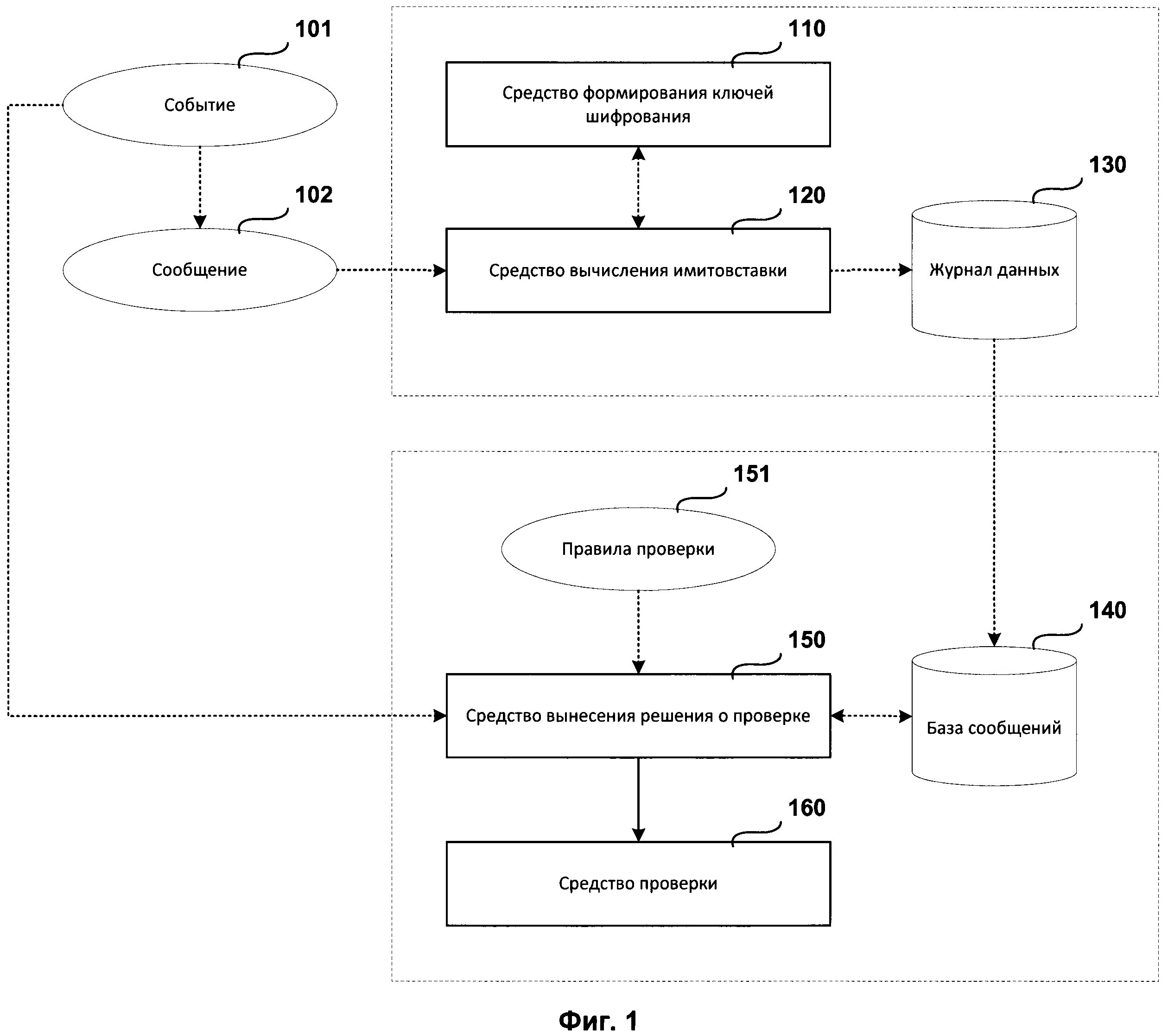
Компрометация и размещение данных карты