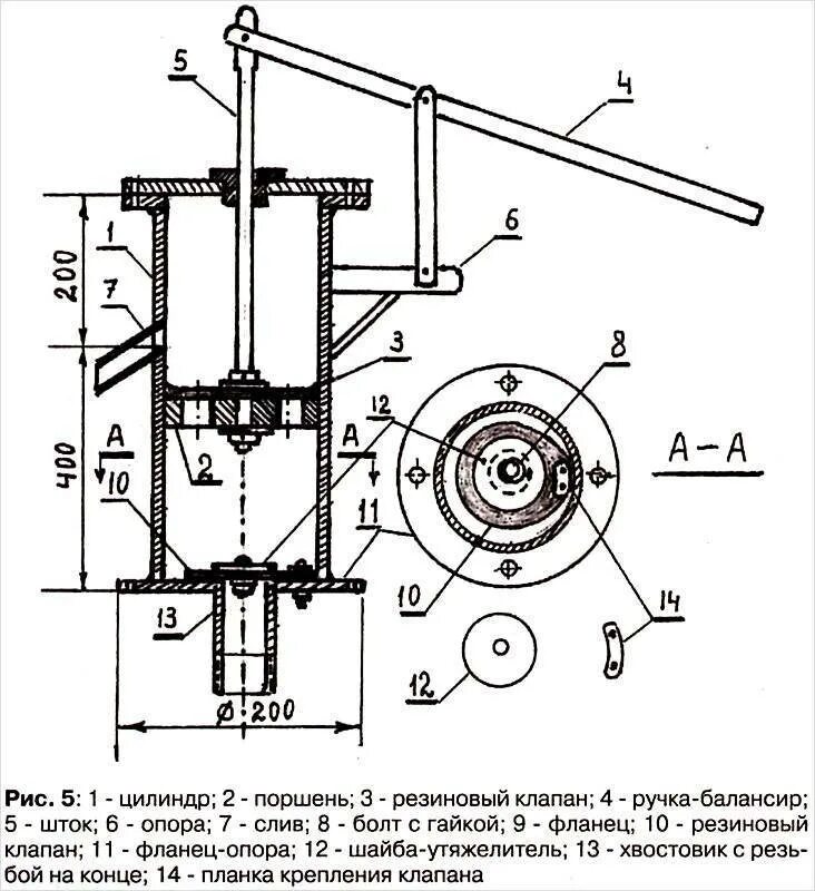
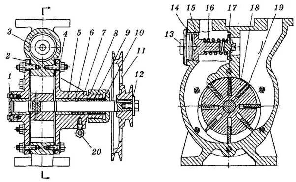
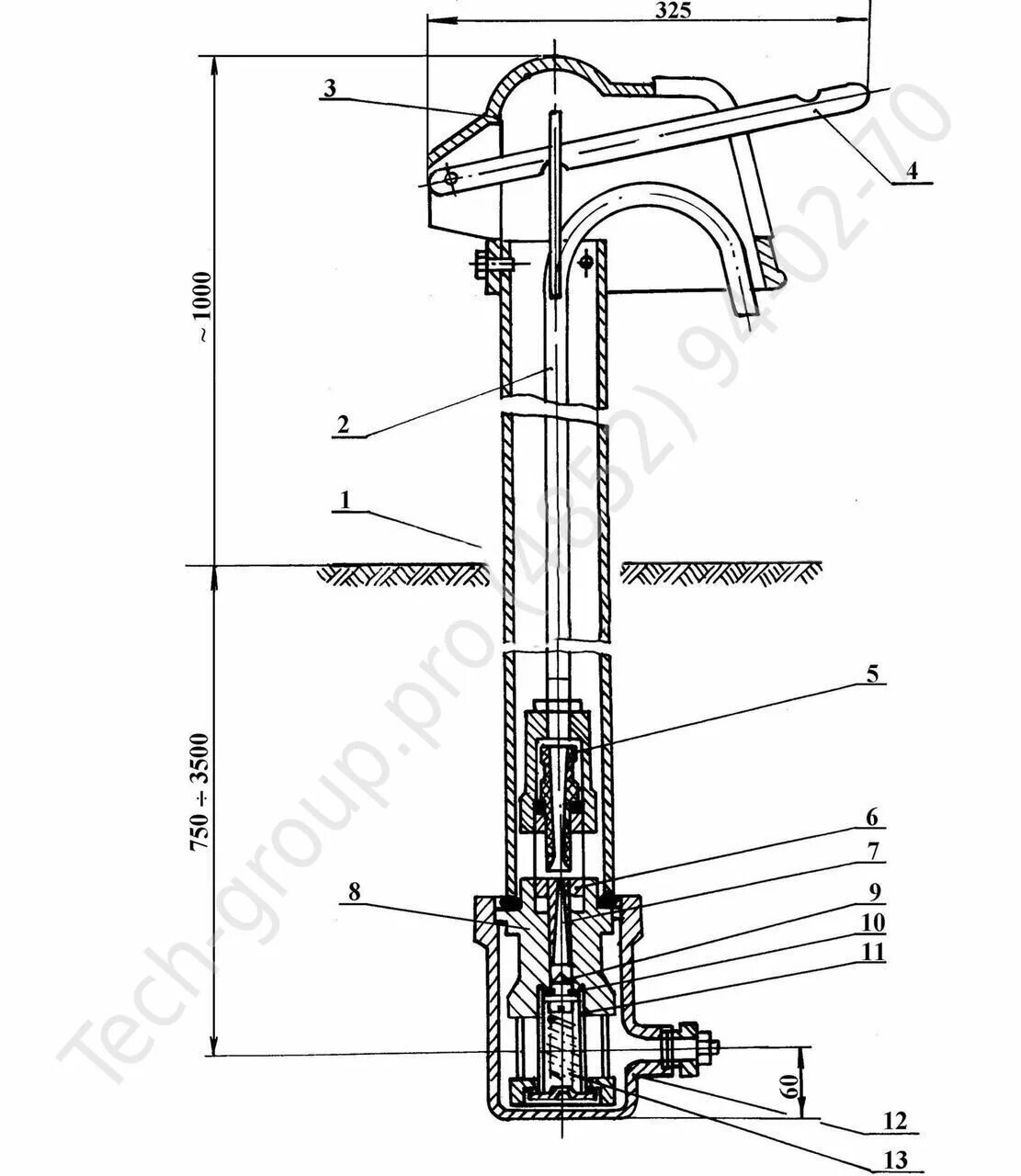
Колонка насос как работает