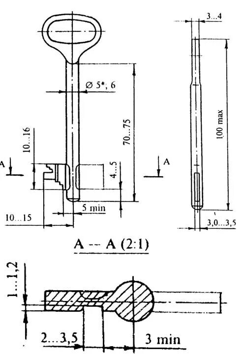
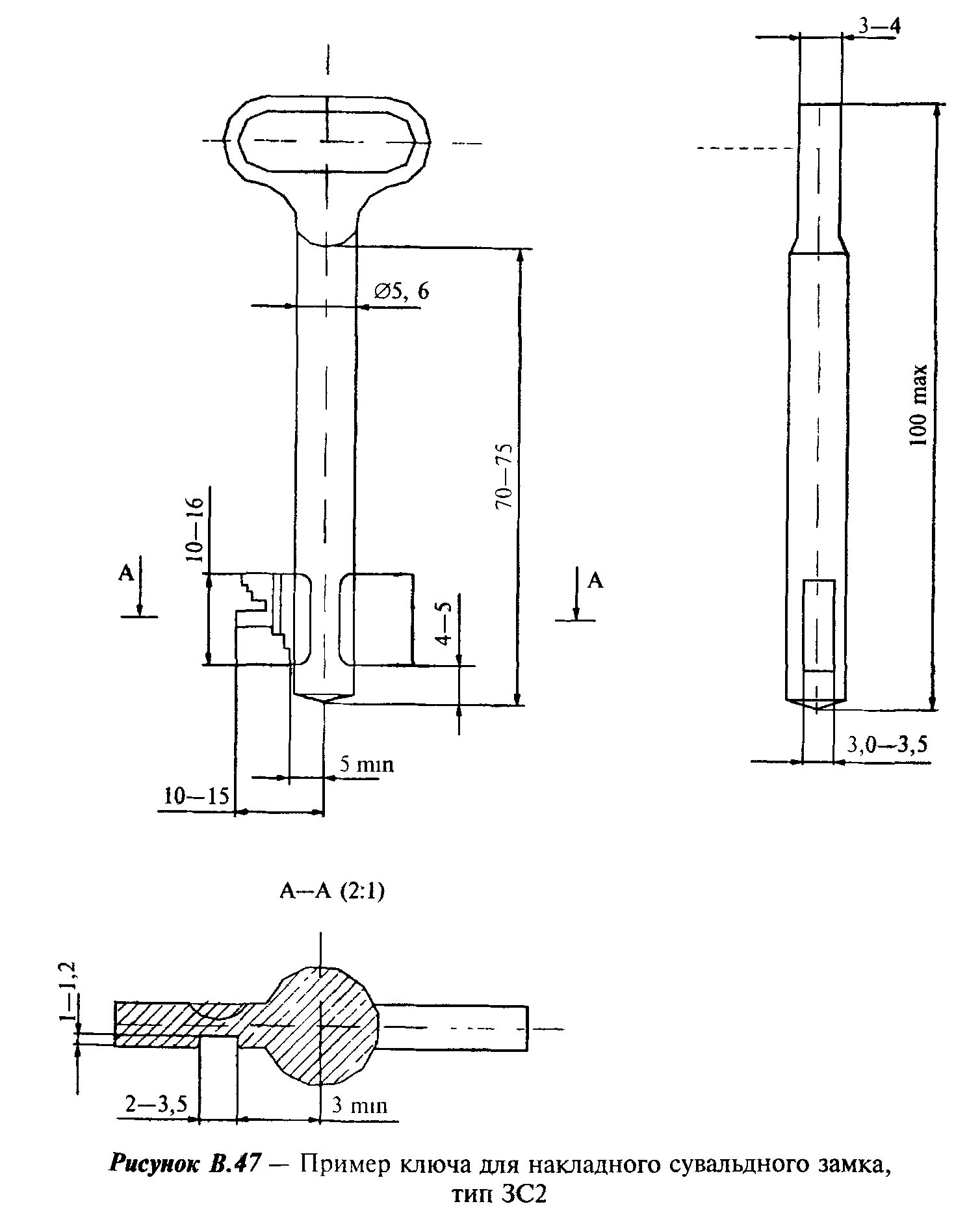
Ключ тп